¿Cómo conectar y montar correctamente las antenas de amplificación de señal?
La conexión correcta de la antena es crucial para el rendimiento óptimo de tu amplificador de señal. Una instalación incorrecta puede provocar una mala recepción de la señal, auto-oscilación o una cobertura reducida. Sigue esta guía para conectar y montar correctamente las antenas externas e internas de tu sistema.
¿Qué incluye un kit estándar?
Un kit de amplificador de señal típico se compone de los siguientes elementos:
Antena externa - puede ser:
- Antena direccional logarítmica periódica (LPDA) o antena de panel para amplificadores domésticos.
- Antena magnética omnidireccional para amplificadores de señal en vehículos y
- Antena omnidireccional para barcos.
Cable externo – conecta la antena externa al amplificador.
Las longitudes estándar varían entre 10 y 20 metros, pero pueden ajustarse según las necesidades.
Unidad de amplificación de señal – dispositivo principal que amplifica la señal.
Cable interno – conecta la antena interna al amplificador. La longitud estándar es de 5 metros, pero puede acortarse o alargarse si es necesario. Algunos modelos básicos para poca cobertura pueden no disponer de cable interno.
Antena interna – puede ser:
- Antena de techo o de panel (se conecta por cable).
- Antena de látigo (se atornilla directamente en el amplificador sin necesidad de cable).
Descripción de los puertos de antena del amplificador
Diferentes modelos de amplificadores tienen diferentes etiquetas de puerto. Esto es lo que significan:
- BS o Outdoor – se conecta a la antena exterior.
- MS / Indoor – se conecta a la(s) antena(s) interna(s).
- DC – se conecta a la fuente de alimentación.
Algunos modelos tienen dos puertos interiores, permitiendo el uso de 2 antenas interiores simultáneamente. En este caso:
- MS1 (puerto más potente) – ideal para antenas de techo y panel con cables más largos.
- MS2 – apto para una antena de látigo o una segunda antena de panel/techo con un cable más corto.
* Nota: Si tu área de cobertura es pequeña y la distancia entre 2 antenas interiores es inferior a 5 metros, utiliza sólo una antena interior para evitar interferencias de la señal.
Diagramas de instalación:
Kit de amplificador con una antena interior:
Kit de amplificador con dos antenas interiores:
Instalación en furgoneta o coche
* Estos diagramas muestran una posible configuración en una furgoneta o coche. La colocación de las antenas externas e internas puede variar en función de tus necesidades y de las características de tu vehículo. Para evitar la oscilación de la señal, asegúrate de que las dos antenas están separadas al menos por 3 metros.
Instalación en un barco/embarcación
* Las antenas externas e internas pueden instalarse en distintos lugares, en función de tus necesidades y de las características de tu barco.
¡Ojo! Para evitar la oscilación de la señal, es importante que las dos antenas estén al menos a 8 metros de distancia.
Aislamiento correcto de la antena antes del uso
Antes de encender el amplificador, comprueba que la antena esté bien colocada para evitar problemas de auto-oscilación (bucles de realimentación) e interferencias:
Mantén una distancia mínima entre antenas:
- Antena exterior a la interior: al menos 8 metros en posición horizontal y 1,5 metros en vertical. Si la señal exterior es fuerte, se recomienda aumentar esta distancia. Una señal de entrada más potente requiere una separación mayor para un rendimiento óptimo.
- Antena interior a la interior: al menos 3-5 metros de distancia para evitar interferencias de la señal. Si tu área de cobertura es pequeña y la distancia entre 2 antenas interiores es inferior a 5 metros, utiliza solo una antena interior para evitar interferencias de la señal.
Posicionamiento correcto de las antenas:
- Es mejor colocarla en el tejado con una línea de visión sin obstáculos hasta la torre de telefonía móvil más cercana.

- No coloques nunca las antenas exterior e interior una frente a otra.
- Usa obstáculos como paredes, techos o barreras metálicas para bloquear las trayectorias directas de la señal.
- Orienta las antenas en direcciones opuestas o claramente diferentes.
* Para obtener instrucciones detalladas sobre cómo orientar y colocar correctamente la antena externa, consulte nuestra Guía de colocación de antenas.
Montaje de las antenas
Montaje de la antena exterior
Antena LPDA:
Debe instalarse en un poste.
Asegúrate de que la antena esté montada verticalmente y que la flecha roja de la caja de la antena apunte hacia arriba.
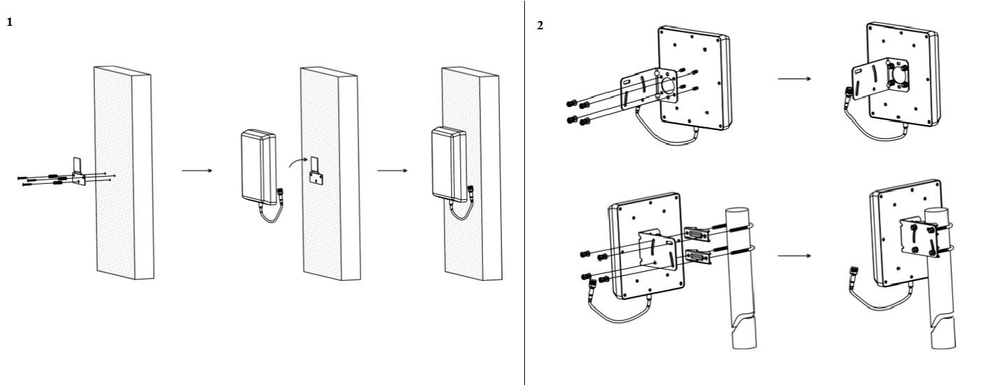
Antena de panel:
- Se puede montar en la pared o en un poste.
- Colócala lo más alto posible para obtener la mejor recepción de señal.
Presta atención a la posición vertical de la antena del panel. El cable debe dirigirse hacia abajo.
Montaje de la antena interna
Antena de techo:
- Ideal para grandes espacios abiertos, viviendas u oficinas.
- Colócala en el centro de la zona para una distribución uniforme de la señal.
Antena de panel:
- Ideal para espacios alargados y estrechos (pasillos, vestíbulos, etc.).
- Se monta en la pared, como una antena de panel exterior.
- Dirígela hacia la zona donde sea necesario mejorar la señal.

Consejos para obtener el mejor rendimiento
- Evita doblar o apretar excesivamente los cables para garantizar una transmisión óptima de la señal.

- Si sobra cable, enróllalo con cuidado o acórtalo.
- Aísla los conectores externos de la humedad con cinta aislante estándar para protegerlos mejor.

- Comprueba la integridad de los conectores durante el montaje del sistema para evitar problemas de conexión.
- Si se producen interferencias, ajusta ligeramente la posición de la antena para encontrar la mejor configuración.















